| 索引号 | 53040020201190545 | 文     号 |   |
| 来   源 | 玉溪市人民政府网 | 公开日期 | 2020-10-15 |
相关解读:
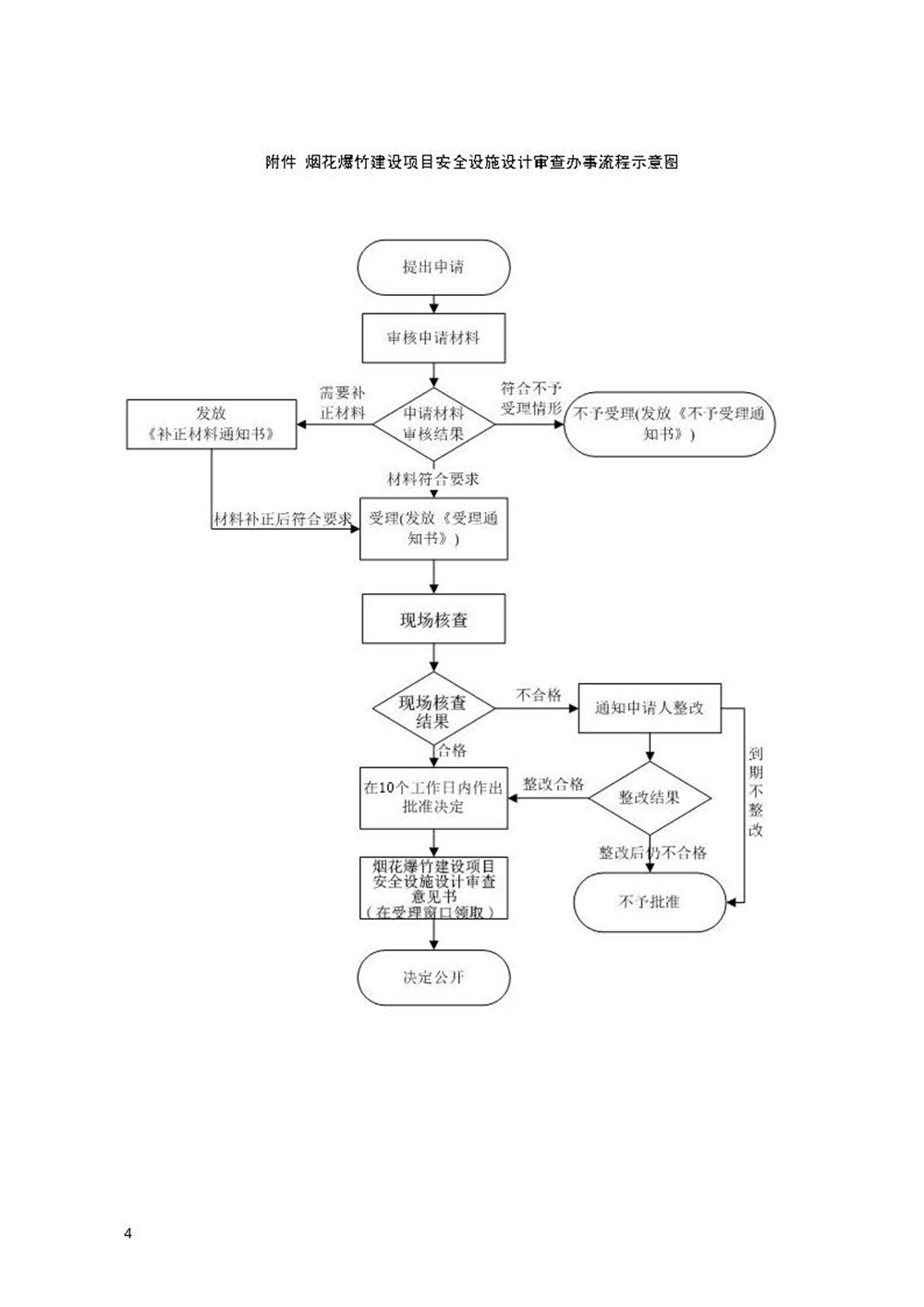
烟花爆竹建设项目安全设施设计审查办事指南
相关阅读:
- 国家统计局玉溪调查队政府信息公开指南 2025-12-08
- 元江县丽锦蛇纹岩矿有限公司安定新寨蛇纹岩矿矿区生态修复方案审查结果公示 2026-03-12
- 新平扬武阿白则沙石经营厂新平县扬武镇阿白则白云石矿矿区生态修复方案审查结果公示 2026-03-12
- 玉溪市生态环境局关于2026年3月9日建设项目环境影响评价文件审批决定的公告 2026-03-09
- 玉溪市生态环境局关于2026年3月6日建设项目环境影响评价文件审批决定的公告 2026-03-06
- 玉溪云境口腔门诊部《医疗广告成品样件表》及《医疗广告审查证明》 2026-03-11
- 玉溪市生态环境局关于2026年3月11日建设项目环境影响评价文件拟审批情况的公示 2026-03-11
- 玉溪艾维眼科医院《医疗广告成品样件表》及《医疗广告审查证明》 2026-03-10
- 深刻汲取事故教训 严守水域安全底线 ——杞麓湖水上安全联合排查行动扎实开展 2026-03-10




滇公网安备 53040202000080号

